Moro!
Talvella oli vänkärin peilin sivuttaissäätö kadonnut johonkin, ylös alas toimii

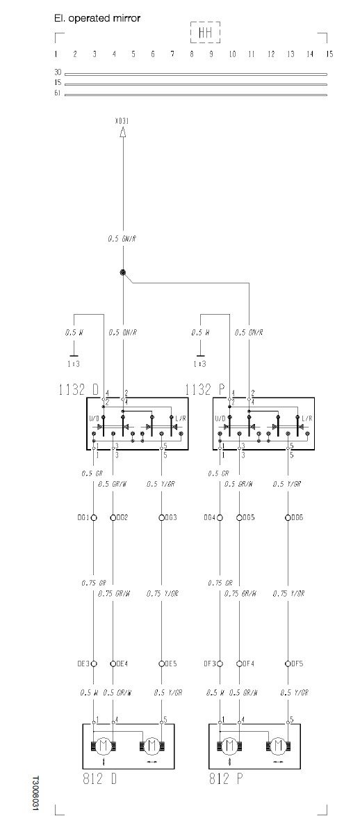
Johdotuksen värit muuttuu matkalla

Moottorilta johdot poikki 2 ja virtaa, toimii säätö kun napaisuus vaihtuu. Eli johto tai nännivika. Miten tuo virta oikeen kulkee tuolta nänniltä

1 ja 2 maa- ja 3 virta + toinen johto yhdistyy 4 ja 5 toinen ei mihinkään (poikki)

Ei kyllä täällä ymmärrä miten virta pitäs kulkea

. Korkeussäätöä joka toimii en vielä katkonut johtoja ja kattonut mihin yhdistyy

T. @ri
